Как выбрать, сделать и установить правильный искрогаситель на дымоход бани?


Конкретно с этой неувязкой поможет совладать искрогаситель на дымопровод – устройство препятствует распространению небезопасных искр. Устройство имеет ординарную конструкцию, потому сделать его и установить полностью реально без помощи других.
Мы подскажем, как устроен искрогаситель, опишем особенности различных моделей, приведем пошаговый инструктаж по изготовлению и креплению элемента. Изложенная информация поможет выполнить все работы без помощи других, сэкономив средства на покупке готового изделия и вызове мастера.
Что же все-таки это такое и для каких целей он нужен?
Искрогаситель предназначен для гашения искр, вылетающих из дымоходной трубы при сгорании горючего в печи/камине.
Обычно он устанавливается конкретно на дымопроводы твердотопливных печей, дымоходную трубу бани либо особый стакан для крепления дефлекторов. Такая установка представляет собой специальную насадку с железным сетчатым цилиндром и защитным козырьком на вершине.
Другие конструкции искроуловителей
Время от времени хозяева бани адаптируются другими способами улавливать вылетающие из дымопровода искры. Более всераспространены последующие способы:
- Сверху на дымопровод бани надевают кусочек трубы с заваренным торцом. С боковой стороны на оголовке прорезают сваркой либо сверлят отверстия. Через них будет выходить дым.
- Простая конструкция для бани состоит из сетки, вваренной вовнутрь изголовка дымопровода. Но таковой вариант неудобен, потому что с течением времени забитую сажей сетку придется вырезать для подмены.
- Если размещение бани находится в ветреном регионе, на оголовок дымопровода можно установить высококачественный дефлектор. При отсутствии ветра таким дымопроводом воспользоваться нельзя из-за отсутствия тяги.
- Проще всего своими руками сделать дымопровод с коленами. Идущий по извивам трубы дым даст дополнительное тепло снутри бани, и уменьшить количество вылетающих искр.
Как видно, сделать искрогаситель для собственной бани своими руками достаточно легко и под силу каждому.
Как собрать искрогаситель, можно поглядеть в последующем видео.
Механизм работы
Принцип деяния сводится к тому, чтоб ограничивать свободное движение искр, вылетающих из дымовой трубы. Особенная конструкция неоднократно перенаправляет движение частиц, которые натыкаются на различные препятствия.
При ударе о металлосетку с мелкими ячейками искры разбиваются, скорость их движения понижается вкупе со сменой направления движения. При следующем столкновении с препятствием металлоконстукции частички меркнут, не покидая дымопровода.
Свободному движению газа эти препятствия-фильтры никак не мешают.
Виды
Существует огромное количество видов таких агрегатов. Они различаются по форме, размерам и самому элементу, отвечающему за гашение искры.
Конструктивно эти приспособления также могут различаться. В рамках личного отопления в большинстве случаев используют искрогасители последующих типов:
- искроуловитель-кожух;
- искрогаситель-дефлектор.
Разновидности железных дымопроводов
Дымопроводы из стали различаются по материалу трубы и типу конструкции. Сталь употребляется нескольких видов:
- Чёрная без покрытия. Этот материал более дешёвый, но при всем этом менее долговременный. Такая сталь поддаётся коррозии и стремительно приходит в негодность.
- Низколегированная сталь. В качестве примесей для этого материала используют хром, цинк, никель, молибден. Таковой сплав меньше поддаётся коррозии, чем рядовая чёрная сталь.
- Нержавейка. Наилучший, из вероятных вариантов. Трубы из этого материала владеют всеми преимуществами железных дымопроводов.
- Гофрированная сталь. Является менее надёжным вариантом, так как из-за гофрированной стены на трубе стремительно оседает сажа. Чистить таковой дымопровод предстоит нередко. Используют гофрированный материал для гильзования.
По типу строения выделяют последующие разновидности дымопроводов:
- Одностенные. Такие трубы имеют одну стену, поперечником от 0.6 до 1мм. У них нет термоизоляции, поэтому для отопительных устройств в доме использовать их небезопасно. Они отыскали применение в банях, где при помощи повсевременно жаркой трубы можно греть воду.
- Одностенные для гильзования. Такие трубы могут ничем не отличаться от обыденных одностенных, могут быть бугристые либо иметь округлую форму. Отличительная их особенность -расположение снутри старенького кирпичного дымопровода.
- Сэндвич-системы. Более распространённый и надёжный из всех вариантов. Состоят они из внутренней и внешней труб, меж станками которых находится слой изолирующего материала. Такая конструкция дает возможность избежать нагревания внешней поверхности трубы и образования конденсата.
- Конструкция “труба в трубе”. От предшествующего варианта эта система отличается отсутствием изолирующей прослойки. Такие дымопроводы получили заглавие коаксиальные. Внутренняя труба в них нужна для отведения товаров горения, воздух по ней движется снизу ввысь. По внешней трубе, другими словами прослойке меж 2-мя трубами, потоки воздуха движутся в оборотном направлении. Они нужны для поддержания горения горючего. Такая конструкция содействует повышению тяги во внутренней трубе, но её нельзя использовать в критериях низких температур из-за замерзания конденсата на стенах.
Искрогаситель на дымопровод можно сделать вручную либо приобрести более сложную модель.
Различают три главных типа, отличающихся своим устройством, способом гашения искр, доп функциями:
- кожух – простой вариант;
- дефлектор, дополнительно улучшающий тягу;
- жидкостный.
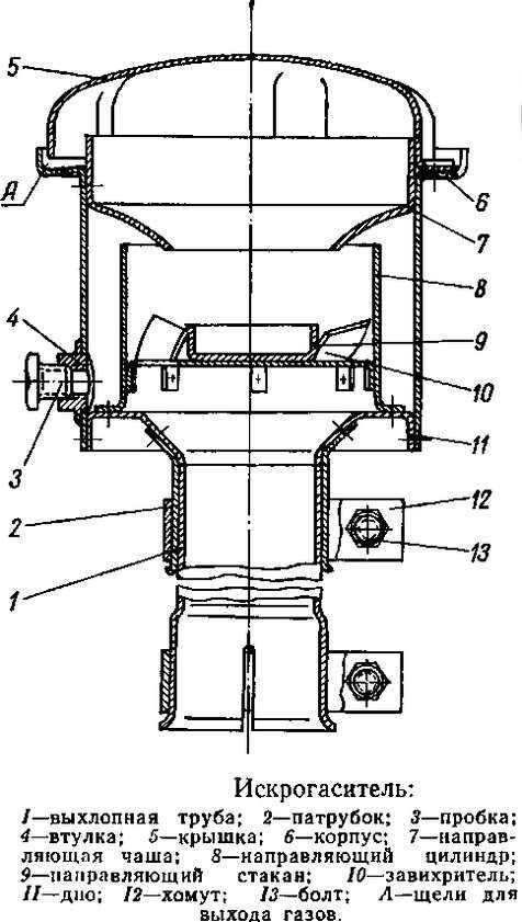
Искрогаситель-кожух
Это самый обычный тип, который нетрудно сделать без помощи других. Из материалов для производства больше всего подходит нержавейка, отличающаяся прочностью, коррозионной устойчивостью, стойкостью к высочайшим температурам.
Проще всего сделать затычку для трубы с просверленными отверстиями. Принципиально правильно высчитать поперечник отверстий, не затрудняющий тягу, но не пропускающий искры. Размер самой затычки должен превосходить поперечник трубы, чтоб устройство просто надевалось и снималось.
Этот тип искрогасителя на дымовую трубу имеет более сложную конструкцию.
Механизм работы дефлектора заключается в использовании силы ветра для усиления тяги. Аэродинамическое устройство быть может различного типа.
Используют сужение корпуса в какой-нибудь его части, кольцевые отверстия в корпусе, мини-турбину, набор крутящихся козырьков и другие приспособления. Направленный воздушный поток, приобретенный за счет силы ветра, увеличивает тягу в трубе.
А оснащение дефлектора сетью либо перфорацией обеспечивает действенное гашение несгоревших частиц горючего. Дефлекторы более эстетичны, чем искрогасители-кожухи, и могут служить декоративным украшением крыши.
Более всераспространены дефлекторы:
- ЦАГИ;
- Вольперт;
- Григоровича;
- Н-образный;
- Тарельчатый;
- Крутящийся;
- Флюгер.
Гидрофильтры
Водяной искрогаситель употребляется в главном для мангалов, чтоб защитить дымопровод от воспламенения.
Это непростая конструкция, в состав которой входят:
- дымовой колпак;
- корпус;
- система вентиляции;
- железная сетка;
- фильтры для жира;
- устройство для распыления воды;
- клапан для подачи воды;
- сенсор давления;
- устройство для разделения дыма и воды;
- устройство для отвода грязной воды.
В почти всех конструкциях искрогасителей эти оба принципа употребляются в совокупы один с другим.
Достоинства и недочеты
Говоря про общие для всех конструкций плюсы, необходимо отметить беспрепятственный выход дыма из трубопровода и сохранение начальной тяги. В случае с искроуловителями-дефлекторами показатель тяги возрастает.
Для варианта в виде кожуха либо сеточной шапочки свойственна очень обычная и доступная схема сборки, также простой установка.
Находятся тут свои недочеты. Например, эта разновидность лишена зонтика дефлектора, предотвращающего попадания в дымопровод осадков. 2-ая недоработка такового искроуловителя заключается в отсутствии перегородки, изменяющей движение газов по оси.
Как работает икскрогасительный элемент дымоходной трубы?
Искроуловитель имеет ординарную, но результативную конструкцию. Он представляет собой насадку для дымопровода, у которого по боковым сторонам размещена сетка, сверху – конус, обеспечивающий надежную защиту от сторонних предметов. Искрогаситель устанавливается на печную трубу хоть какого типа. Принцип деяния этого устройства достаточно обычный:
- Во время топки печи твердотопливный материал сгорает. В итоге возникает дым и газ. С уроков физики понятно, что воздушные массы устремляются ввысь по свободному пути. В случае бани образовавшиеся вещества проходят по дымоходному каналу, стремясь выйти наружу. При всем этом в клубнях дыма могут находиться несгоревшие продукты горения, которые также как и искры приводят к пожару.
- При наличии искрогасителя дым с раскаленными частичками «упирается» в первую и главную преграду в виде защитного конуса.
- Искрам прямой проход в воздух закрыт. Они направляются в боковые стороны, где их ждет еще одна преграда в виде сетки. Раскаленные частички под давлением проникают через ячейки, теряя скопленный термический потенциал.
Весь принцип деяния обыденного искрогасителя заключается в 3-х обычных действиях, которые защищают хозяев от пожара. Сделать такое устройство можно своими руками, не потратив огромных денег.




Сделать самому либо заказать устройство?
Искроуловители на заказ — достаточно всераспространенная функция. Если вы доверяете исполнителю, то сможете рассчитывать на неплохой срок службы и полную исправность. Но это не всегда так, в особенности, если производитель решит сберечь на материале.
Если вы решили сделать искроуловитель без помощи других, у вас может уйти на это больше времени. При всем этом вы можете стопроцентно держать под контролем процесс, начиная с выбора и приобретения материала, и заканчивая конструктивными аспектами.
Советы по выбору
При выборе стоит уделить внимание габаритам трубопровода, типу конструкции и качеству материала. Поперечник устройств, обычно, составляет 80-550 мм. Размеры козырьков зависят от габаритов трубчатых конструкций, которые надеваются на дымопровод.
Более нередко рекомендованы изделия из нержавейки. Отсутствие коррозии, долговечность и доступная стоимость – главные достоинства этого решения.
Пользующиеся популярностью модели
Есть облегченные кожухообразные варианты и решения с функцией дефлектора. Посреди последних можно выделить последующие пользующиеся популярностью модификации:
- ЦАГИ;
- Аппарат Григоровича.
- Круглый Волпер.
- H-образное устройство.
- Флюгер.
- Тарельчатый.











Общая информация
Главная составляющая истинной российской бани — печь для бани, которую топят жестким топливом. На шаге возведения конструкции необходимо правильно установить и сам резервуар, и систему отведения дыма, чтоб обойти отравления продуктами сжигания, также предупредить воспламенение стенок либо перегородок. При всем этом дымопровод не должен создавать пожароопасные ситуации вовне помещения. Для этого многие люди устанавливают искрогаситель на трубу.
К огорчению, большая часть владельцев не присваивает особенного значения этому элементу, считая, что возможно обойтись и без него. Но огнь не прощает ошибок, а чрезмерная халатность может привести к плачевным последствиям.
По сути смастерить и установить искрогаситель на дымопровод своими руками совершенно нетрудно, потому лучше проявить терпение и выделить время на облагораживание настолько принципиального узла, только после чего приступать к эксплуатации новой бани.
Искрогаситель можно сделать своими руками
Пошаговое изготовка и установка искрогасителя своими руками
Разглядим вариант пошагового производства искроуловителя с зонтиком дефлектором, состоящий из корпуса, сетчатой конструкции и дефлекторного колпака.
Нужные материалы и инструменты
Для самостоятельной сборки такового искроуловителя для вас пригодятся последующие инструменты:
- приборы для измерения (рулетка-сантиметр, уровень и т.п.);
- отвертка, струбцины, пассатижи и молоток;
- заклепки в наборе либо сварочный аппарат;
- ножницы по металлу, болгарка, дрель и сверла.
Расходные материалы подбираются чисто персонально зависимо от типа устройства.
Чертеж и схемы
Приведем пример сборки обычного искрогасителя на базе общего базисного чертежа.
Обозначим главные составляющие и попутно поведаем, как их сделать:
- Патрубок цилиндрический – стакан, который будет надеваться на трубу дымопровода. Для производства пригодится железный лист. Вырезаем из него прямоугольник с длиной, равной длине окружности, лежащей в основании (Рис. 2).
Высчитать нужные габариты можно по формуле: «L = ? ? D», где L — длина, ?? 3,14, а D – подходящий поперечник цилиндра. Получившуюся полосу аккуратненько изгибаем с помощью трубы, к примеру, в конус, совмещаем края, сверлим на них несколько отверстий и скрепляем заклепками.
- Металлосетка – сеть с ячейками. Идеальнее всего приобрести готовую сетчатую базу из нержавеющей стали. Цилиндр на ее базе делается по той же схеме, что и стакан.
- Защитный колпак-зонт– тут основное правильно выполнить выкройку конуса. Для этого вычисляем требуемый радиус заготовки, используя формулу: «С = ? (h? + (D/2)?)», где C — длина боковой составляющей конуса, h — требуемая высота, D — поперечник. Готовую вырезанную развертку аккуратненько сворачиваем конусом (Рис. 3)
- Стойки для соединения деталей в единую конструкцию – делаются из такого же листового металла. (Рис. 4) Длина стоек определяется размерами конструкции, с учетом подходящего припаса снизу (приблизительно 20 мм под 1-2 заклепки для крепления к стакану). Лучше располагать эти элементы под углом к вертикали — от трубы до краев зонтика.
Сейчас о сборке. К патрубку «стакану» крепим стойки на 1-2 заклепки. В место меж стойками-держателями вставляем сетчатый цилиндр так, чтобы он малость вошел в нижний патрубок и уперся в конус. Сейчас выставляем грибок — подгибаем монтажные площадки стоек, чтоб они плотно прилегли к внутренней части конуса. Сверлим сквозные отверстия через стойки и зонтик, после этого совсем закрепляем всю конструкцию.
Расчет размеров
До того как приступить к работе необходимо замерить габариты дымоотвода, в согласовании с которыми будут отображены наброски приспособления.
Принципиально уделить повышенное внимание поперечнику затычки – сечение должно быть чуток больше поперечника дымоотвода.
Более принципиально найти верный размера ячеек – они не должны быть больше 5 мм.
Видео по монтажу
Особенности монтажа
Грамотный установка находится в зависимости от размеров деталей устройства. При мельчайшем несоответствии поперечников установить искроуловитель на трубу не получится. Для соединения отдельных частей используют сварочный аппарат. Получившиеся после сварки соединения необходимо хорошо зачистить. Для конечной фиксации пригодятся заклепки либо крепления.
Защита стенки от перегрева
В процессе работы банной печи, температура ее поверхности может достигать отметки в 400 градусов и выше.
Кроме этого, она испускает инфракрасные лучи, нагревая при всем этом стенки помещения, в особенности окрестные к ней.
Если отделка стенок выполнена из дерева, то неизменный его перегрев может привести к обугливанию и воспламенению.
Чтобы это предупредить, используют особые огнезащитные составы, а для большей надежности – устанавливают защитный экран для печи в бане. Более пользующиеся популярностью материалы для его производства:
- Металл. Изоляция стенок в бане от печки делается в большинстве случаев средством железного экрана. Бывают они в главном передними либо боковыми. Железные экраны значительно понижают температуру воздействия на стенки;
- Кирпич. Кирпичные защитные экраны позволяют как уменьшить излучение от печки в бане, так и защитить стенки от долгого воздействия больших температур. Кирпич для банных печей употреблялся давно, так как он длительно греется, потом дает мягкое тепло помещению, длительно остужаясь;
- Листы нержавеющей стали. С помощью данного материала производится как обшивка печи, так и близкорасположенных частей. Если лист нержавеющей стали кропотливо отполировать, то его зеркальная поверхность будет отражать вредное инфракрасное излучение.
Сервис и уход
Сложность обслуживания находится в зависимости от избранной модели устройства. В общем для всех вариантов случае грамотная эксплуатация такового устройства сводится к повторяющейся очистке сетки от сажи.
Если идет речь о дефлекторе с «юбкой», для вас предстоит временами инспектировать, чтоб насекомые, листья и остальной маленький мусор не перекрывали отверстия для удаления дождика и стаявшего снега.
Чем выкрасить металлическую
Обладатели бань повсевременно сталкиваются с ржавчиной.
Непременно, идеальнее всего изготавливать баки и остальные печные составляющие из нержавеющей стали, но за неимением таковой способности на помощь придут разные лакокрасочные материалы.
Итак, чем выкрасить печь в бане? Идеальнее всего приостановить собственный выбор на теплостойкой кремнийорганической эмали.
Некие ее разновидности способны выдерживать температуру, достигающую 600-700 градусов.
Теплостойкая кремнийорганическая эмаль совсем не подвергается нехорошему воздействию воды и резким перепадам температур.
Как следует, если вы желаете защитить печь в вашей бане от коррозии, теплостойкая кремнийорганическая эмаль станет неподменным ассистентом в данном деле!
Советы профессионалов
Расстояние от дымопровода до искрогасителя
Монтажная высота конуса должна быть в границах мало допустимых значений так, чтоб конструкция не нарушала тягу и сразу не допускала попадания мусора и осадков в трубопровод снаружи. Для расчета нужных характеристик, советуем пользоваться последующей таблицей:
D,мм (поперечник дымоотвода) | W,мм (ширина козырька) | H,мм (высота до дымоотвода) |
120 | 240 | 144 |
140 | 280 | 168 |
200 | 400 | 240 |
400 | 800 | 480 |
500 | 1000 | 600 |
Источник: vsamodelino.ru
Возможно интересно:
Смотрите также:





